北京航空航天大学2021年保送生拟录取名单
时间:
保送生
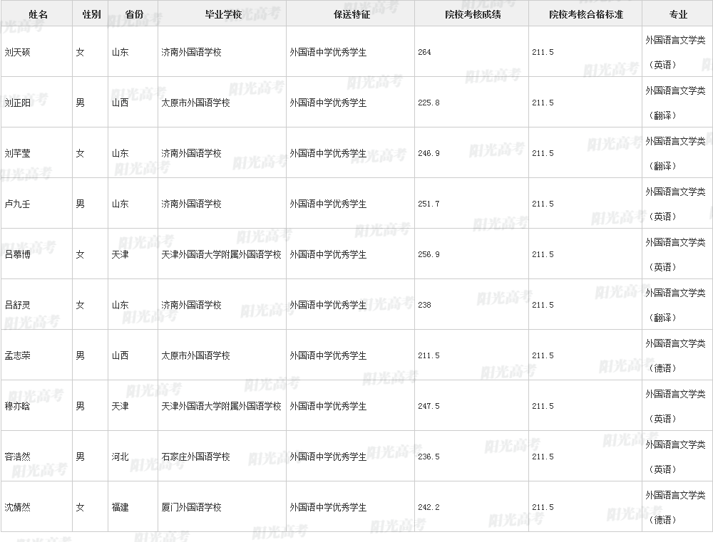
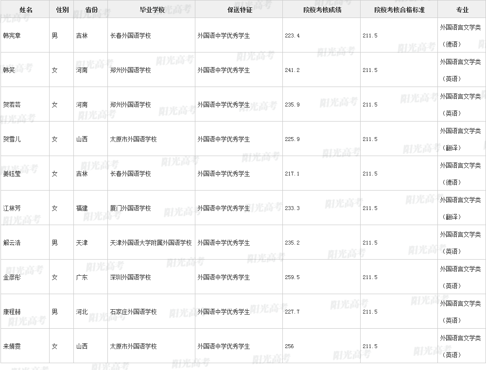
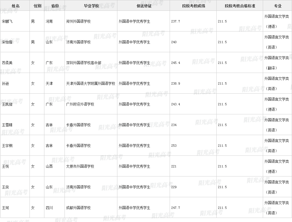
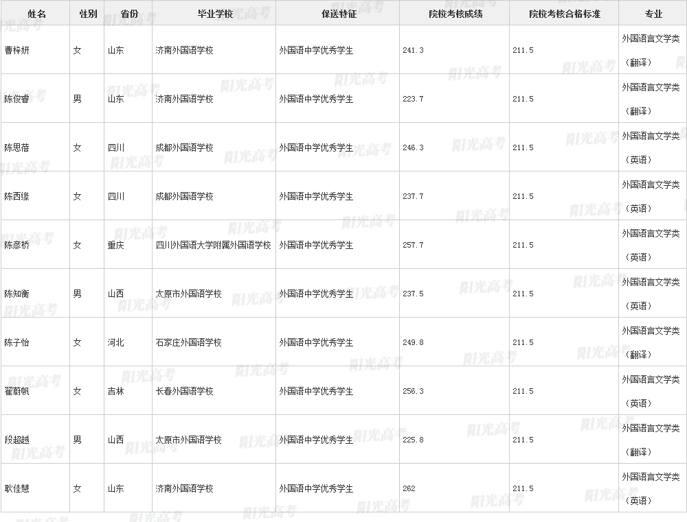
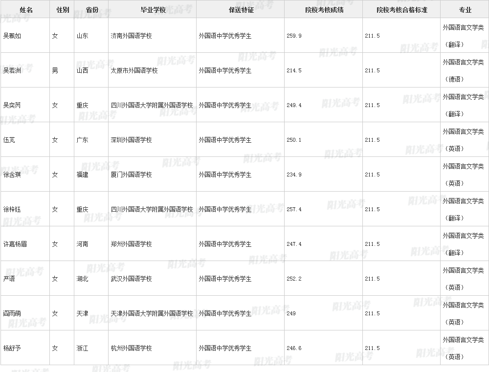
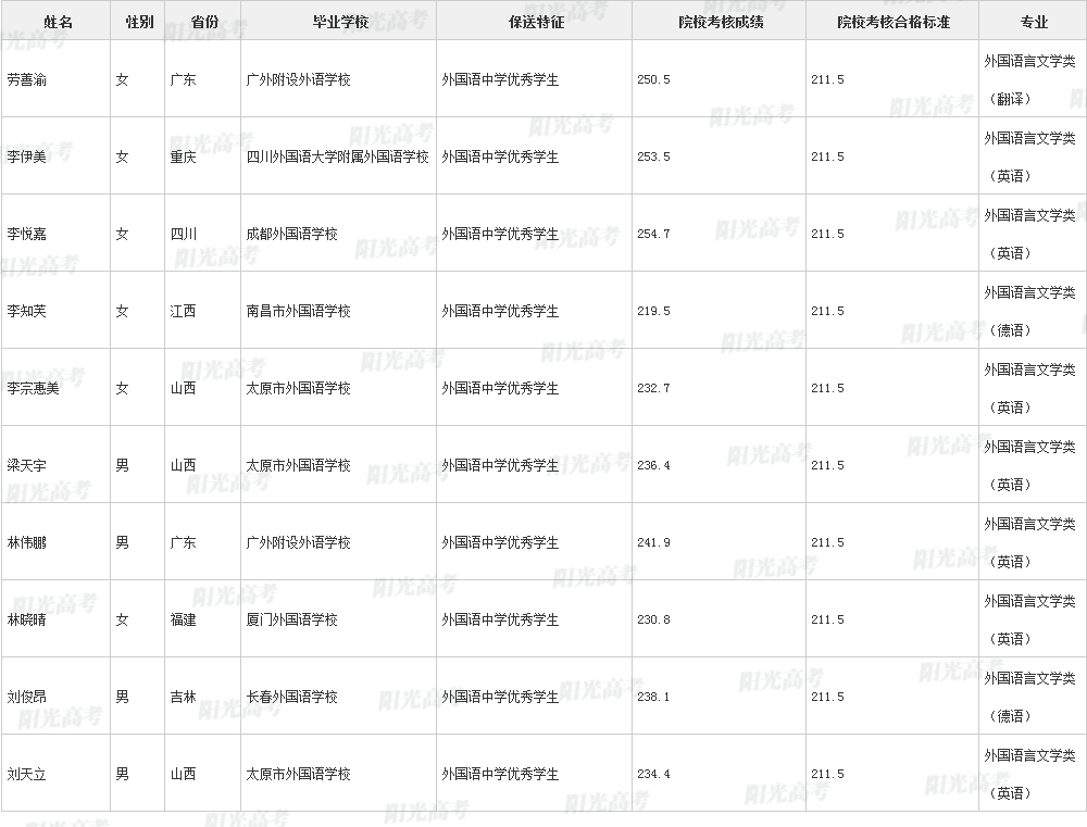
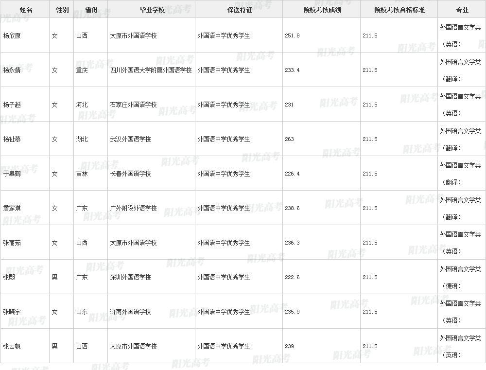
近日,阳光高考官网正式公布清华、北大等高校201年保送生拟录取名单,为方便大家查询,雷火在线特此同步更新北京航空航天大学2021年保送生拟录取名单,共计77人获得拟录取资格,具体名单如下:
北京航空航天大学2021年保送生拟录取名单声明:本文信息来源于阳光高考,由雷火在线整理编辑,如有侵权,请及时联系管理员删除。
近日,阳光高考官网正式公布清华、北大等高校201年保送生拟录取名单,为方便大家查询,雷火在线特此同步更新北京航空航天大学2021年保送生拟录取名单,共计77人获得拟录取资格,具体名单如下:
北京航空航天大学2021年保送生拟录取名单声明:本文信息来源于阳光高考,由雷火在线整理编辑,如有侵权,请及时联系管理员删除。